快讯
来源:中国民商网-财经 作者:郑勇康
2024年6月,刚刚调入创新层不久的新三板挂牌企业江苏爱舍伦医疗科技集团股份有限公司(下称“爱舍伦”)启动北交所IPO。IPO获受理后,身负研发薄弱、依赖代工与单一大客户等质疑,爱舍伦经历了三轮交易所问询,拿到了注册生效批文,并已启动招股。
而就在去年11月19日,爱舍伦提交注册申请的前一天,法院将爱舍伦的关联方张家港市志益医材有限公司(下称“张家港志益”)列入了被执行人名单,而此前爱舍伦实控人家族同业资产合并的旧事与张家港志益有关。
报告期内公司治理待加强
爱舍伦从事的一次性医用耗材业务,主要通过ODM/OEM方式为境外医疗器械厂商提供产品。报告期内(2022年至2025年1-6月),爱舍伦各产品产能均呈现超负荷运转,部分产品最高产能利用率达到173.02%。
由于近年来不断变化的国际经济形势,爱舍伦在境外市场使用美元结算的过程中,面临相应的汇率风险。报告期内,爱舍伦主营业务收入九成以上来自境外客户,各期汇兑损益均为损失,分别为-901.78万元、-367.79万元、-828.48万元、-374.17万元。
爱舍伦针对自身依赖外销的特征而开展的远期结售汇业务也未能体现抗风险能力,2022年、2023年,公司阶段远期结售汇业务也均存在亏损,分别为-170.65万元、-369.30万元。
据招股书中测算,若未来美元兑人民币汇率较2025年1-6月平均汇率(7.1793)下降5%以上,爱舍伦的利润总额会有下降36.50%以上的风险。
就在出海报税事务上,公司也曾出错被罚。招股书显示,2022年10月,爱舍伦因向渝州海关申报出口的3批货物的报关单的税号申报错误,被出具《行政处罚决定书》。
此外,2024年3月,全资子公司江苏柯莱斯克新型医疗用品有限公司(下称“柯莱斯克”)车间还发生了火灾事故。事后,相关部门在调查过程中发现柯莱斯克车间内2处防火间距被占用,已违反《消防法》,被处以罚款人民币2.50万元。
同时,还有一份公开的判决书暴露出了爱舍伦另一子公司也曾发生过安全事故。
据裁判文书网上案号为(2022)皖1802民初832号的民事判决书显示,2021年9月,安徽爱维迈德医疗用品有限公司(下称“爱维迈德”)厂区内发生叉车撞伤人员事故,爱维迈德仅为伤者垫付医疗费,而医药费、误工费、住院伙食补助费、营养费、护理费、鉴定费等其他费用未予支付。因此,法院判决爱维迈德向原告支付赔偿合计40,427.48元。
关联方和同业问题仍需关注
爱舍伦前身设立时,由现实际控制人张勇的母亲祁月芳持有100%股权。目前,张勇通过直接和持股平台间接持股合计控制公司88.69%的股权。公司核心成员中,董事张利芳为张勇之兄,第二大股东任涛(发行前持股5.65%)为张勇姐姐张丽芹之子。
在爱舍伦之前,张勇曾设立张家港市沪港机电设备有限公司,主要从事医疗器械产品的生产设备的制造业务,据企查查,该企业登记状态为吊销,已注销。


(截图来自企查查)
无独有偶,公开信息显示,实控人家族关联的多家企业也出现被吊销的情况。
招股书披露,张勇、张利芳兄弟共同投资30%的上海浩大机械有限公司于2001年已吊销,未注销。任涛父母(即张勇姐姐、姐夫)分别担任董事长、董事、总经理的张家港欧科医材有限公司目前经营状态为吊销,未注销。任涛父亲担任总经理的张家港志益卫生用品有限公司目前经营状态为吊销,未注销。
爱舍伦并未解释多家实控人家族的关联方被吊销的原因。此外,爱舍伦的关联并购和同业问题也值得关注。
IPO前,为解决同业竞争和规范关联交易,爱舍伦收购了任涛家庭控制的张家港志益及苏州尤尼佳无纺布制品有限公司(下称“苏州尤尼佳”)非口罩业务资产并承接相关劳动用工人员。
张家港志益、苏州尤尼佳的业务与爱舍伦存在重叠,2020年底,爱舍伦新成立了一家全资子公司江苏旭禾医疗科技有限公司(下称“江苏旭禾”),并由江苏旭禾收购上述两标的公司的相关经营资产和业务,从而将实控人亲属企业与医用卫生材料及敷料相关的资产和业务整合至公司体系。
经过一系列评估、股东会决议和签署协议程序后,江苏旭禾于2021年1月27日向苏州尤尼佳支付104.23万元收购款,于次日向张家港志益支付4,078.50万元收购款。前述收购价款合计为4,182.73万元,与2020年12月20日厦门市大学资产评估土地房地产估价有限责任公司出具的拟合并资产组合评估价值一致。
此次收购,资产交割日标的资产可辨认净资产公允价值为1,875.57万元,溢价2,307.16万元形成商誉。
据招股书,收购前,张家港志益由任涛持股50%、张丽芹(任涛母亲、张勇之姐)持股25%、任志华(张丽芹配偶)持股25%,按照持股比例,3人应分别获收购款(税前)2,039.25万元、1,019.63万元、1,019.63万元。苏州尤尼佳由任涛及其配偶100%持股。
招股书没有提到的是,就在此次关联并购之前,张家港志益卷入了一场买卖合同纠纷。
据裁判文书网(2020)苏0114执保1932号执行裁定书,2020年3月,张家港志益与南京欧宠商贸有限公司(下称“南京欧宠”)签订了一份共计人民币7,660.80万元的一次性防护口罩买卖合同,事后双方对交易中的金额产生纠纷。2020年12月,南京欧宠向法院申请财产保全,冻结了张家港志益名下292万元的财产。
另据(2024)苏0114执恢448号限制消费令,2024年5月13日,因张家港志益在与申请人南京欧宠的买卖合同纠纷一案中未按执行通知书指定的期间履行生效法律文书确定的给付义务,南京市雨花台区人民法院向时任张家港志益法定代表人张丽芹出具限制消费令。
值得注意的是,在张家港志益与南京欧宠的纠纷未决期间,原本持股50%的第一大股东任涛于2022年5月退出张家港志益,此举避免了身为爱舍伦第二大股东的任涛后续承担与关联方张家港志益相关的案件执行责任。


(截图来自企信网)
截至目前,张家港志益与相关责任人仍未履行还款义务。根据中国执行信息公开网,2025年11月18日,张家港志益被纳入被执行人名单,执行标的295.16万元。


(截图来自中国执行信息公开网)
在张家港志益被执行一案中,爱舍伦的第二大股东任涛“金蝉脱壳”,实控人姐姐张丽芹此前收到爱舍伦关联资产收购款后,却拒不履行执行欠款支付义务被“限高”。
另招股书中还披露,爱舍伦实控人承诺,其关系密切的家庭成员不存在以任何方式从事任何与爱舍伦集团及其子公司所经营业务构成竞争或可能构成竞争的业务,并明确表示关系密切的家庭成员包含兄弟姐妹及其配偶。
然而研究发现,同样由任涛父母直接控制的另一家关联方——苏州志益医疗器械有限公司(下称“苏州志益”)未被爱舍伦收购。
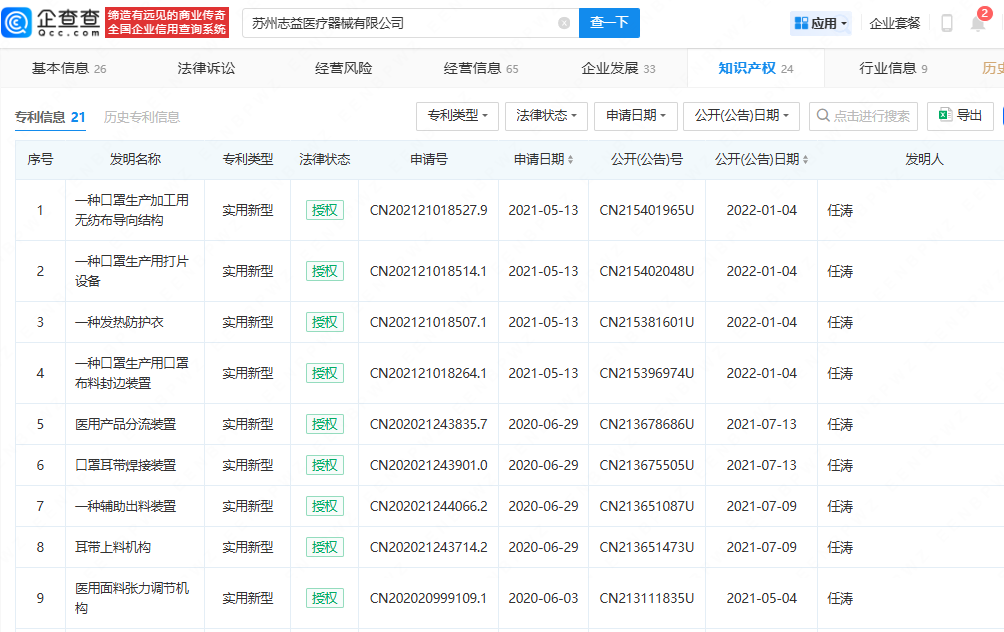
据企信网,苏州志益2024年工商年报显示,张丽芹、任志华夫妇对其各持股50%,分别认缴/实缴注册资本500万元。苏州志益的主营业务活动许可项目涵盖第二类医疗器械的生产等。企查查显示,苏州志益持有“一种发热防护衣”、“医用面料张力调节机构”等实用新型专利,多项专利的唯一发明人均为任涛。


(截图来自企信网)


(截图来自企查查)
爱舍伦收购张家港志益、苏州尤尼佳的同业资产时,承接资产的子公司江苏旭禾经营范围第一项即为第二类医疗器械生产。爱舍伦获得的欧盟市场准入CE认证范围也包含医用铺单、防护衣服等医用面料类产品。
目前,江苏旭禾还向苏州志益租赁厂房进行生产,爱舍伦最新发布的《关于预计2026年日常性关联交易的公告》中显示,预计2026年向苏州志益租赁的车间、仓库加办公楼全年租金为127.4万元。
对于苏州志益的经营范围与爱舍伦及其子公司所经营的业务出现相同,是否存在同业的情形,或需要公司和保荐机构东吴证券进一步补充说明。
免责声明
凡本网注明“来源:未经本网授权,任何单位及个人不得转载、摘编或以其它方式使用上述作品;已经与本网签署相关授权使用协议的单位及个人,应注意该等作品中是否有相应的授权使用限制声明,不得违反该等限制声明,且在授权范围内使用时应注明“来源:违反前述声明者,本网将追究其相关法律责任。